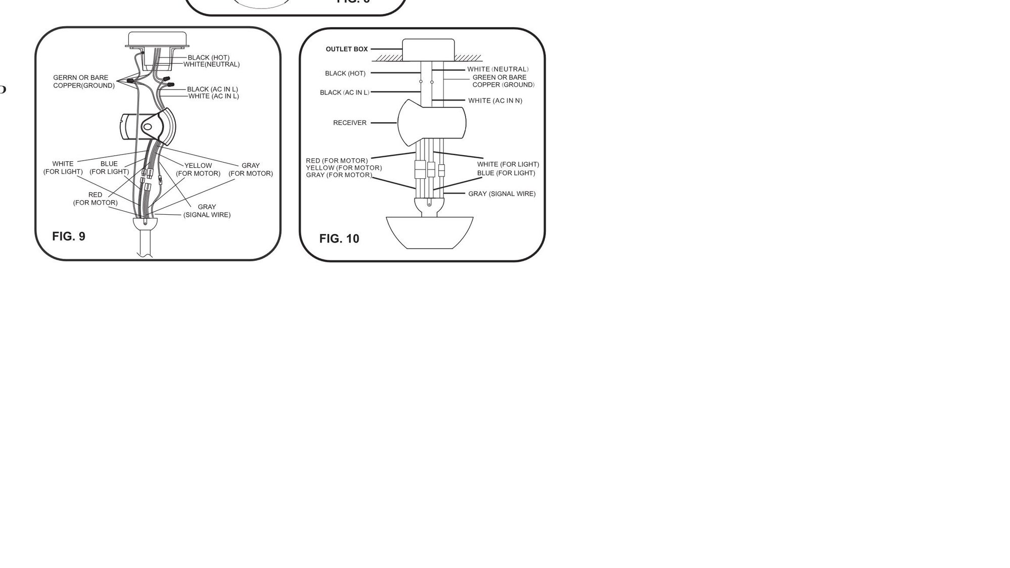
DIY - CEILING FAN CONNECTION DIAGRAM, illustrating both the internal winding configuration and the external wiring for a single-phase ceiling fan. The image is divided into two main sections: 1. Top Section:
image size: 1501x2048
Ceiling Fan Motor - diagram, schematic, and image 08
image size: 1024x1320
Ceiling Fan Motor with Generator Winding - diagram, schematic, and image 02
image size: 1024x1320
Ceiling Fan Wiring Diagrams
image size: 1068x801
Ceiling Fan Motor with Generator Winding - diagram, schematic, and image 03
image size: 1024x1320
Ceiling fan wiring diagram with capacitor and dimmer switch
image size: 720x1214
77 Beautiful Westinghouse Ceiling Fan Wiring Diagram
image size: 735x1229
How to Wire a Ceiling Fan - The Home Depot
image size: 1440x878
Ceiling Fan | PDF | Electric Motor | Mechanical Fan
image size: 768x1024
Fan motor wiring diagram with speed control
image size: 960x1280
Ceiling Fan Regulator Circuit using Z0607 \u0026 DB3C312
image size: 1280x720
DC Receiver (Motor Controller) — TAL
image size: 1082x1416
50 Awesome 2 Speed Fan Wiring Diagram
image size: 736x1103
Ceiling Fan Motor with Generator Winding - diagram, schematic, and image 04
image size: 1024x1320
How to wire 3-speed fan switch
image size: 1096x873
Patriot Instructions
image size: 1440x878
How to Wire a Ceiling Fan - The Home Depot
image size: 1024x1536
Ceiling fan wiring diagram with capacitor and regulator
image size: 768x1024
Permanent Split Capacitor Motor Guide | PDF | Electric Motor | Capacitor
image size: 945x1041
Six-wire fan motor wiring diagram with capacitor and speed control switch
image size: 1383x2048
The wiring of a ceiling fan with a capacitor, regulator, and switch in a 220V AC electrical circuit. The capacitor is connected to the fan's wiring to provide the necessary phase shift
image size: 1352x1475
LUCCI 210640 Climate III DC Ceiling Fan Installation Guide
image size: 1443x612
electrical - Power a ceiling fan motor and light from the supply side of a three way switch - Home Improvement Stack Exchange
image size: 2560x1707
How To Install a Ceiling Fan - This Old House
image size: 1291x760
motor - how does ceiling fan remote implement reverse function? - Electrical Engineering Stack Exchange
image size: 1024x1320
Ceiling Fan Motor - diagram, schematic, and image 03
image size: 1200x1549
pull chain speed control - Casablanca Fan Repair
image size: 970x837
Solved Theory for Ceiling fan . determined the theory | Chegg.com
image size: 1169x706
3 wires coming from ceiling fan motor. : r/AskElectricians
image size: 2067x1379
Mantra Ceiling Fan Assembly Instructions
image size: 2154x928
Wiring a ceiling fan with black, white, red, green in ceiling box and two wall switches - Home Improvement Stack Exchange
ac - Speed control on a ceiling fan induction motor - Electrical Engineering Stack Exchange
image size: 1000x1000
Alya Industrial Styling Ceiling Fan with Remote and Wall Switch 56 inch
image size: 1255x676
CREATE WINDLIGHT ROUND Ceiling Fan with DC Motor User Manual
image size: 1344x787
Bypass Minka ceiling fan remote to wall switch - DoItYourself.com Community Forums
image size: 2000x2000
13\
image size: 2048x1536
INSTALLATION MANUAL
image size: 1438x1107
ceiling fan | PPT
image size: 1178x686
Smart Fan Canopy Module White Wire From Current Receiver - Wiring Discussion - Inovelli Community
image size: 1118x749
Replacing Capacitor In Ceiling Fan With Diagrams - Electrical Online 4u - All About Electrical \u0026 Electronics
image size: 1946x1946
CROSSIO CFL-1026-01 Crystal Ceiling Fan with Lights Modern Chandelier Ceiling Fan Instruction Manual
image size: 1600x1066
CORMIER 3-Speed Ceiling Fan Wall Switch and On/Off Control (AC Motor Builder Grade Fans Only)
image size: 1541x2365
The World Through Electricity: How to fix a ceiling fan
image size: 1024x853
Griffon Corporation Patent: Ceiling Fan with Motor, Blades, Stator, and Rotor
image size: 1224x918
Circuit Board for BLDC Ceiling Fan
image size: 2048x1536
electrical - How do I wire this ceiling fan? - Home Improvement Stack Exchange
image size: 2048x1536
Ceiling fan | PPTX
image size: 1170x1560
CEILING FANS
image size: 1094x1262
ceiling fan | PPT
image size: 776x1121
Trying to wire a ceiling fan to eliminate the remote| Off-Topic Discussion forum |
image size: 800x1000
KEOWEE Ceiling Fan Installation Manua
image size: 1500x1500
Wiring up a ceiling fan - Home Improvement Stack Exchange
image size: 960x1280
CRAFTMADE OP104 Pro Plus 52 Inch 5 Blade Indoor Outdoor LED Ceiling Fan Installation Guide
image size: 2048x2004
If you're using a ceiling fan to keep cool this summer, thank a mechanical engineer! Philip Diehl was an engineer and inventor who patented the electric motor fan in the United States
image size: 1232x862
Ironsmith Lighting Products - Ceiling Fans With Lights
image size: 1540x1673
Can I wire this fan to two switches (light + fan) by removing the remote module? : r/askanelectrician
image size: 1405x789
Four Seasons III Rev.B
image size: 1239x661
INSTALLATION MANUAL
image size: 1024x1320
Ceiling fan motor circuit diagram explained
image size: 1000x1000
Model:157347
image size: 1280x720
Instruction Manual
image size: 1998x1124
Ceiling Fan Installation Guide: Step-by-Step Assembly Instructions
image size: 862x1113
AC 110/220V 50/60Hz 18 20 Inch Pure Copper Wire Winding Wholesale Price Ceiling Fan Motor| Alibaba.com
image size: 1000x1000
Installation Guide
image size: 1272x720
Proper] Ceiling Fan Connection with Regulator, Switch and Capacitor - ETechnoG
image size: 1240x1683
FANIMATION FP7900 Torto Ceiling Fan Owner's Manual
image size: 986x816
ADJUSTABLE CEILING FAN MOTOR SHAFT - diagram, schematic, and image 03
image size: 2480x1485
Vaxcel - F0111 - Curtiss - 3 Blade Ceiling Fan with Light Kit In Contemporary Style-16.25 Inches Tall and 52 Inches Wide
image size: 1187x986
Working of Fan with Circuit Diagram – Construction of Ceiling Fan Motor
image size: 1500x1500
Minka-Aire f626l bypass receiver - DoItYourself.com Community Forums
image size: 2000x2000
Parrot Uncle F6297 Ceiling Fan User Guide
image size: 1774x1692
Vaxcel Lighting Elkhart Black LED Ceiling Fan with Light | F0110 | Destination Lighting
image size: 2048x1536
Unbranded 48 in. Indoor White Ceiling Fan with Lights Remote Control Silent Motor, 3-Blades Remote Included WCIF01
image size: 1214x1214
Hunter Ceiling Fan Installation Guide and Warranty Information
image size: 1080x897
Ceiling Fan Wiring Diagram with Capacitor, Fan Regulator - ETechnoG
image size: 1214x1214
How to Install a Ceiling Fan – Hunter Fan
image size: 1000x1000
Melkelen MK03-BK 52 Inch 5 Blade Indoor Ceiling Fan User Guide
image size: 2292x1901
Zaire 52 inch Ceiling Fan with LED Light and Pull Chain
image size: 2000x2000
Instruction Manual
image size: 2000x2000
24\
image size: 768x1024
User Manual Harbor Breeze 00878 | manualsFile
image size: 1500x1500
Ceiling fan(working and installation) | PPT
image size: 3024x4032
Fanbliss 42 Inch Nickel Ceiling Fans with Lights and Remote Control fo – WoodArtSupply
image size: 800x986
How do I bypass the remote module for this ceiling fan? : r/AskElectricians
image size: 857x1000
ELEHINSER 52\
image size: 1060x1222
Fanimation Spitfire Indoor/Outdoor Ceiling Fan AC Motor with Remote - Brushed Nickel - Overstock - 32120707
image size: 2740x2465
electrical - Ceiling fan wiring (2x light switch, 1x fan switch) - Home Improvement Stack Exchange