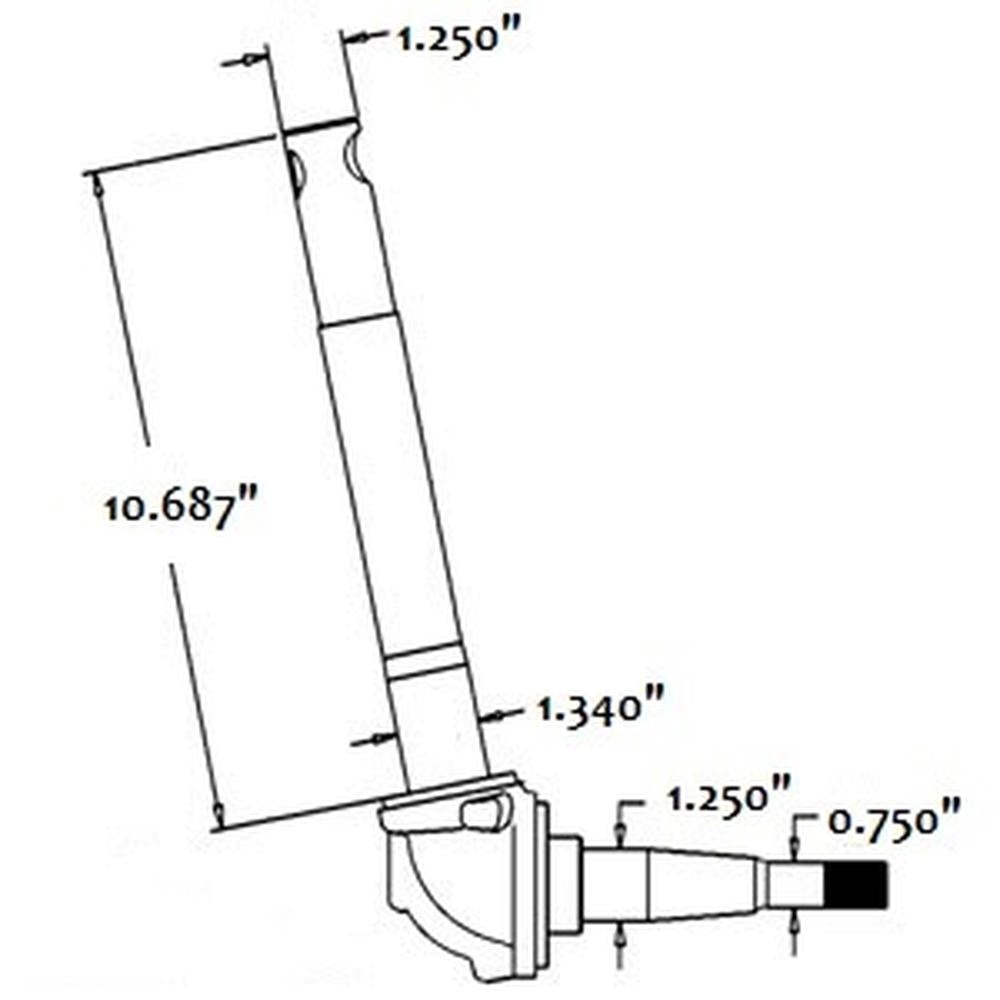
Where to find parts for a 1955 Ford 800 series 850 tractor in Canada?
image size: 1536x2048
Ford Tractor Carburetor EAE9510C Tractor Carburetor Replacement For Ford Jubilee NAA NAB 600 700 (1955-1957) With 134 CID Gas Engines 134 CID Gas Engine Carb
image size: 1500x1479
No Reserve: 1955 Ford 860 for sale on BaT Auctions - sold for $10,600 on October 17, 2024 (Lot #167,126) | Bring a Trailer
image size: 1227x818
Ford Tractor 600 800 Ag Hood
image size: 4000x3000
FDS1720 - SPIN ON OIL FILTER ADAPTER KIT
image size: 1200x1200
Ford 800 tractor value and repair options?
image size: 1125x1583
Ford Early Model: Tractors Built from 1939 - 1964 | Broken T